數控加工中心M70系統鍵盤介紹
依速力數控加工中心使用的事三菱M70的操作系統居多,所以我們特意將機器的系統鍵盤做一個詳細的介紹,方便顧客的操作和使用。
第一部分:鍵盤區
畫面切換、數據設定、加工程序編制等操作可通過鍵盤區的按鍵進行操作
M7 系列鍵盤主要可分為 8.4’屏幕用及 10.4’屏幕用兩種類型
<8.4’ lcd="" fcu7-kb024="">

<10.4’ fcu7-kb044="">

鍵盤的主要按鍵及功能列表如下所示


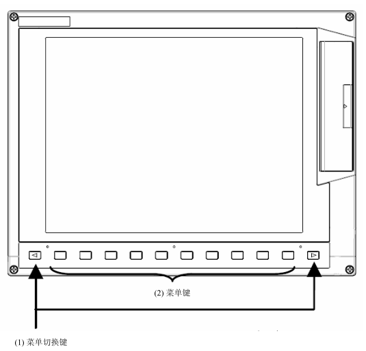
第二部分:顯示操作區

按鍵說明:

以上是關于數控加工中心M70系統鍵盤的詳細介紹,更多的關于加工中心的資訊可以關注我們的官網:http://www.xastqy.com或者咨詢我們的在線客服:400-070-0668.
下一篇:加工中心系統基本操作界面的構成上一篇:加工中心中的刀具有多重要
此文關鍵字:加工中心M70系統|加工中心M70系統鍵盤
相關資訊
同類文章排行
- 四軸加工中心可用于哪種類型的工件加工
- 高速VMC850加工中心哪個品牌好
- 模具加工中心什么牌子的好
- 凱恩帝加工中心
- 比較耐用的加工中心選取建議
- 加工模具使用什么加工中心好
- 加工中心能加工生鐵嗎
- 加工中心三軸變四軸
- CNC加工中心多少錢一臺,影響因素有哪些
- 四軸加工中心多少錢一臺,最新四軸加工中心報價
最新資訊文章
您的瀏覽歷史










